Компанія Ruger отримала патент на дворядний магазин для патронів .22LR.

| Аксесуари , Короткоствольна зброя, Амуніція та боєприпаси | Автор: Web admin

Double Stack .22LR Magazine PatentDouble Stack .22LR Magazine Patent

Новий патент від Ruger демонструє цікаве оновлення класичного пістолета 22/45. Схоже, Ruger розробив дворядний магазин! Давайте розглянемо подробиці.

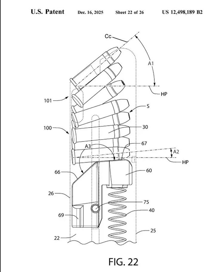
У патенті США № 12498189 зображена конструкція дворядного магазину для пістолетів Ruger під патрон кільцевого запалення. Це однорядна конструкція, що розширюється в дві колонки в нижній частині магазину. Стійка патронів дозволяє закраям повертатися в сторони, зберігаючи при цьому центрування кулі. Патрони також повертаються вгору відносно стійки, розташовуючись на одному рівні із затвором у місці подачі.

Судячи з зображень у патенті, ширина нижньої пластини магазину відповідає ширині рамки пістолета 22/45. На зображеннях немає розмірів, але загальна компоновка пістолета дуже схожа на існуючі моделі.

Double Stack .22LR Magazine PatentDouble Stack .22LR Magazine Patent

Якщо нова конструкція рамки дозволить використовувати ці магазини без зміни зовнішніх розмірів, це стане великою перевагою для стрільців, які звикли до стрільби з цих пістолетів.

Крім того, якщо рамка підходить до стандартної верхньої частини ствольної коробки, її можна буде продавати як додатковий елемент для існуючих пістолетів 22/45, побудованих на архітектурі Mark 4.

Double Stack .22LR Magazine PatentDouble Stack .22LR Magazine Patent

А оскільки на цих пістолетах серійним компонентом є верхня частина ствольної коробки, а не нижня, її можна буде продавати як аксесуар без перевірки біографічних даних!

Зображення та застосування патенту до пістолетів Ruger, таких як 22/45, очевидні, але патент набагато ширший, ніж ця конкретна конструкція. Це не патент на магазин для якогось конкретного пістолета, а патент на спосіб укладання патронів із закрайкою в знімний магазин. У патенті згадуються .22 WMR, .30-30 і 7.62x54r як інші патрони з закрайкою, для яких може бути використана ця конструкція.

Кому потрібен дворядний магазин для .30-30? Не відомо. Можливо, хтось знайде йому застосування.

Double Stack .22LR Magazine PatentDouble Stack .22LR Magazine Patent

* * *

Стати членом УАВЗ

Допомогти УАВЗ

Web admin Автор: Web admin11482,2 Переглядів: 202 , Коментарів: 1 - 0 +
Коментарів (1)

  • 30.12.2025 10:07
    #
    - 0 +

    Всі ці новини матимуть сенс тільки тоді, коли ми зможемо скористатися своїм правом, яке гарантоване конституцією - правом на реальний самозахист і ЗАКОННЕ володіння зброєю!


Будь ласка, залогіньтесь щоб мати можливість коментувати